Советуем
Артикул:
7979
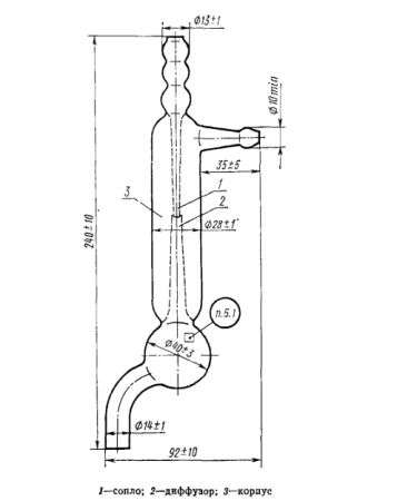
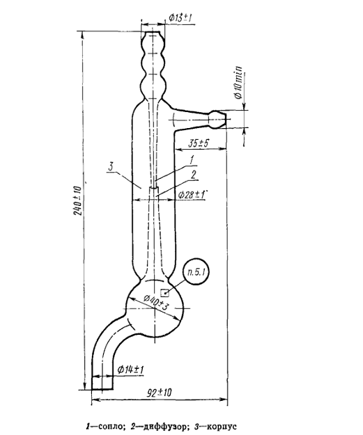
Стеклянный водоструйный насос повышенной мощности предназначен для создания предельного остаточного давления в системе или обычного вакуума. Действие насоса основано на том, что давление жидкости, протекающей по трубе, при уменьшении её диаметра снижается, но скорость движения струи возрастает. Вода, проходя через суживающееся сопло с большой скоростью, создает разряжение, увлекая окружающий воздух в направлении течения струи и выводя его наружу. Этими насосами можно достичь остаточного давления, которое практически не может быть ниже давления насыщенного пара воды при данной температуре. При использовании более холодной воды (например, 10–15 °C) давление насыщенного пара воды ниже, поэтому вакуум, создаваемый водоструйным насосом, может достигать примерно 10–15 мм рт. ст. При повышении температуры воды (25–40 °C и выше) давление насыщенного пара растёт, и тогда минимально достижимое давление (остаточное) возрастает до 30–40 мм рт. ст., что приводит к менее глубокому вакууму. Водоструйные насосы изготавливаются из стекла, стали, пластмасс (тефлона) и широко используются в лабораторной практике. Представленная модель изготовлена из лабораторного стекла и имеет большую ёмкость, а также увеличенный расход воды, но также и большую глубину создаваемого вакуума, чем другие стеклянные аналоги.
Стеклянный водоструйный насос может стать бюджетным решением для тех, кто хочет собрать свою лабораторную вакуумную установку, состоящую из колбы Бунзена и воронки Бюхнера. Обычный электрический вакуумный насос достаточно дорог и способен создавать очень большое давление в системе, которое зачастую не требуется для проведения фильтрации жидкостей через обычный бумажный обеззоленный фильтр.
Технические характеристики:
Глубина создаваемого вакуума - от 10 до 40 мм рт. ст.;
Общая длина - 24,5 см
Материал - лабораторное стекло;
Дополнительные опции к товару :
Преимущества стеклянного водоструйного насоса повышенной мощности:
Стеклянный водоструйный насос может стать бюджетным решением для тех, кто хочет собрать свою лабораторную вакуумную установку, состоящую из колбы Бунзена и воронки Бюхнера. Обычный электрический вакуумный насос достаточно дорог и способен создавать очень большое давление в системе, которое зачастую не требуется для проведения фильтрации жидкостей через обычный бумажный обеззоленный фильтр.
Технические характеристики:
Глубина создаваемого вакуума - от 10 до 40 мм рт. ст.;
Общая длина - 24,5 см
Материал - лабораторное стекло;
Дополнительные опции к товару :
- Шланг силиконовый внутр. диам. 8 мм, стенка - 1,5 мм
- Кобы Бунзена
- Воронки Бюхнера
- Фильтры
- Воронки с фильтром ( ШОТТА )
*Опции в стоимость товара не входят, приобретаются отдельно.
Преимущества стеклянного водоструйного насоса повышенной мощности:
- Возможность собрать бюджетную фильтрационную установку из колбы Бунзена и воронки Бюхнера небольшой мощности;
- Качественная фильтрация напитков через небольшой слой угля или через стандартный обеззоленный фильтр;
- Очень прост в обслуживании и работе - нужно только подключить насос к крану;
- Большая глубина создаваемого вакуума за счёт увеличенной ёмкости и большего расхода воды;
- Термоустойчивость и щелочеустойчивость благодаря лабораторному стеклу;
- Интернет-магазин "Пять капель" работает только непосредственно с производителями, поэтому мы предлагаем только самые выгодные и честные цены на свой товар!
- Мы предоставляем любые виды доставки по России и странам СНГ. Специально для Вас мы подберем самый выгодный способ доставки!!?
Отзывы
Оставить отзыв
|
Ирина
|
|
Насос изготовлен из прочного стекла, фильтрует отлично, в обслуживании прост.
|
|
Галина
|
|
Прочное стекло, выгодная цена, быстрая доставка. Спасибо за насос!
|
|
Захар Таллаев
|
|
Реально мощный водоструйный насос. Вакуум быстро создаёт. Можно в лабораториях использовать однозначно. Прочное стекло, достаточно толстое. Думаю прослужит долго.
|
Похожие товары
