Лабораторная вакуумная установка для фильтрования "Родник" на 5 литров предназначена для средней фильтрации небольших объёмов жидкостей в лабораторных условиях и позволит значительно сократить ваше время на проведение обязательной процедуры очистки браги или уже готового вина и самогона от примесей путём их фильтрования через воронку Бюхнера с углем. При обычных условиях проведения данного процесса - затрачивается масса времени, поскольку заливаемая в воронку жидкость долгое время застаивается на фильтре и медленно стекает в принимающую посуду. С лабораторной вакуумной установкой "Родник" в принимающей чистый продукт колбе Бунзена создаётся вакуум, что приводит к резкому увеличению проходимости жидкости через уголь с фильтром, а также увеличивает качество очистки продукта. Интернет-магазин "Пять капель" настоятельно рекомендует приобрести подобную установку тем, кто регулярно фильтрует малые и средние объёмы жидкости, и хочет собрать свою собственную бюджетную фильтрационную установку без затрат на дорогостоящий электрический насос.
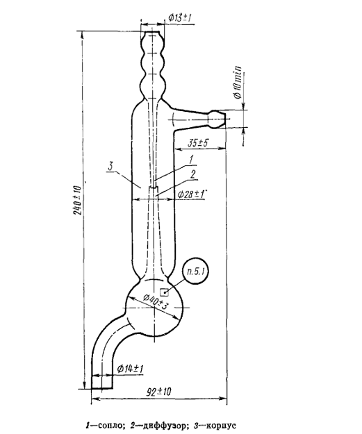
Действие стеклянного водоструйного насоса основано на том, что давление жидкости, протекающей по трубе, при уменьшении её диаметра снижается, но скорость движения струи возрастает. Вода, проходя через суживающееся сопло с большой скоростью, создает разряжение, увлекая окружающий воздух в направлении течения струи и выводя его наружу. Этими насосами можно достичь остаточного давления, не превышающего давления насыщенных паров воды при данной температуре. В случае использования холодной водопроводной воды максимальное создаваемое давление составляет порядка 40 мм рт. ст., в случае использования тёплой воды - создаваемое давление уменьшается до 7 мм рт. ст. Водоструйные насосы изготавливаются из стекла, стали, пластмасс (тефлона) и широко используются в лабораторной практике. Используемая в установке "Родник" модель имеет большую ёмкость, а также увеличенный расход воды, но также и большую глубину создаваемого вакуума, чем другие стеклянные аналоги.
Для работы насоса необходимо только его подключение к водопроводной воде через ПВХ шланг внутренним диаметром 12 мм и толщиной стенки 2 мм, либо силиконовый шланг внутренним диаметром 12 мм и толщиной стенки 1 мм, а также металлический переходник на кран. Для подключения насоса к системе, из которой необходимо откачать воздух, нужен шланг ПВХ внутренним диаметром 8 мм и стенкой 2 мм.
По вашему желанию предлагаемая исходная комплектация лабораторной фильтрационной установки "Родник" может быть изменена - вы сможете увеличить или уменьшить размеры предлагаемых воронки Бюхнера и колбы Бунзена или вообще поменять водоструйный насос на другую модель!
Предлагаемая комплектация вакуумной установки "Родник" на 5 литров:
- Воронка Бюхнера диаметром 150 мм;
- Колба Бунзена на 5 литров без шлифа;
- Резиновая прокладка под воронку;
- Стеклянный водоструйный насос повышенной мощности;
- Пищевой шланг ПВХ внутренним диаметром 14 мм, стенка 2 мм для подключения колбы Бунзена и насоса через переходник - 2 метра;
- Пищевой шланг ПВХ внутренним диаметром 8 мм, стенка 2 мм для подключения насоса к колбе Бунзена через переходник - 1 метр;
- Пищевой шланг ПВХ внутренним диаметром 12 мм и стенкой 2 мм для подвода воды к насосу - 2 метра;
- Переходник на шланги разных диаметров (8/10/12 - 14/16 мм) - 1 штука;
Технические характеристики стеклянного лабораторного водоструйного насоса с клапаном:
Глубина создаваемого вакуума - до 40 мм рт. ст.;
Материал - лабораторное стекло.
Преимущества лабораторной вакуумной установки "Родник" на 5 литров
- Бюджетная и практичная фильтрационная установка из колбы Бунзена, воронки Бюхнера и стеклянного водоструйного насоса небольшой мощности;
- Качественная фильтрация напитков через небольшой слой угля или через стандартный обеззоленный фильтр;
- Большая глубина создаваемого вакуума за счёт увеличенной ёмкости и большего расхода воды;
- Очень проста в обслуживании и работе - нужно только подключить насос к крану;
- Термоустойчивость и щелочеустойчивость благодаря лабораторному стеклу;
- Наличие обратного клапана препятствует обратному ходу воды в случае понижения давления;
- Возможность поменять или изменить предлагаемую конструкцию на ваш выбор!
- Интернет-магазин "Пять капель" работает только непосредственно с производителями, поэтому мы предлагаем только самые выгодные и честные цены на свой товар!
- Мы предоставляем любые виды доставки по России и странам СНГ. Специально для Вас мы подберем самый выгодный способ доставки!
